Galaxy AI turns into a multi-agent ecosystem, adds deep integration with Perplexity AI
Samsung is enhancing Galaxy AI with multi-agent support, integrating Perplexity and other AI agents at the OS level for a smoother, more natural user experience..
Samsung is enhancing Galaxy AI with multi-agent support, integrating Perplexity and other AI agents at the OS level for a smoother, more natural user experience..
Samsung's Galaxy Unpacked, even for the Galaxy S26 family, is right around the corner, officially scheduled for February 25. If.
Caviar unveils a stunning custom iPhone Air inspired by Art Nouveau and Alphonse Mucha, featuring calfskin, mother-of-pearl, and 24k gold. Only one piece available for $11,213..
OpenAI, in collaboration with Jony Ive's design startup, is reportedly working on three new hardware products: a smart speaker, smart glasses, and an AI pin. Learn more about the potential features and release dates..
Meta pivots Horizon Worlds from VR to mobile-first, splitting it from the Quest platform and impacting its Reality Labs workforce. Analysis of the VR fad's end..
Motorola Edge 70 Fusion teased in India with multiple colors and a leather-inspired finish. Launch details and specs expected soon..
Realme C83 rumors reveal specs, prices for India (INR 13,499-17,499), and its position under the C85. It's the successor to the C73 with Dimensity 6300 SoC..
Redmi A7 and A7 Pro get certified, potentially launching as Poco C81 series. Specs include Unisoc T7250, 4GB RAM, 6.9" 120Hz HD+ LCD, 50MP camera, 6000 mAh battery..
Google's Titan M3 security chip, codenamed 'Epic', is rumored to launch with the Pixel 11 and Tensor G6 SoC later this year, improving on the Titan M2..
Motorola's Razr 2025 and Razr Ultra 2025 are finally receiving the Android 16 update in the US on T-Mobile and Verizon, after a significant delay..
Samsung successfully tested X-MIMO technology for future 6G networks, achieving 3Gbps download speeds using an ultra-high-density antenna system in the 7GHz band..
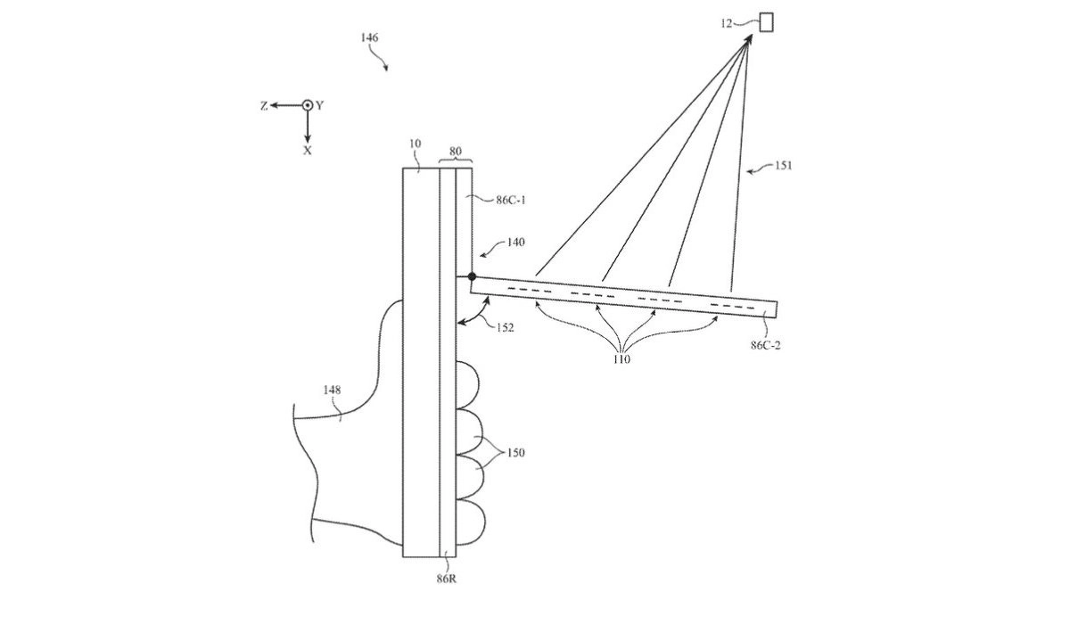
Apple has patented an "Electronic Device and Case with Satellite Communication Capabilities" for iPhones and iPads, featuring an external antenna array to enhance satellite connectivity. It's a proof of concept, not a guaranteed product..